自在经验网
首页
美食营养
生活百科
知识问答
生活知识
返回
自在经验网
首页
美食营养
游戏数码
手工爱好
生活知识
生活百科
健康养生
运动户外
职场理财
情感交际
母婴教育
时尚美容
知识问答
更多知识
搜索
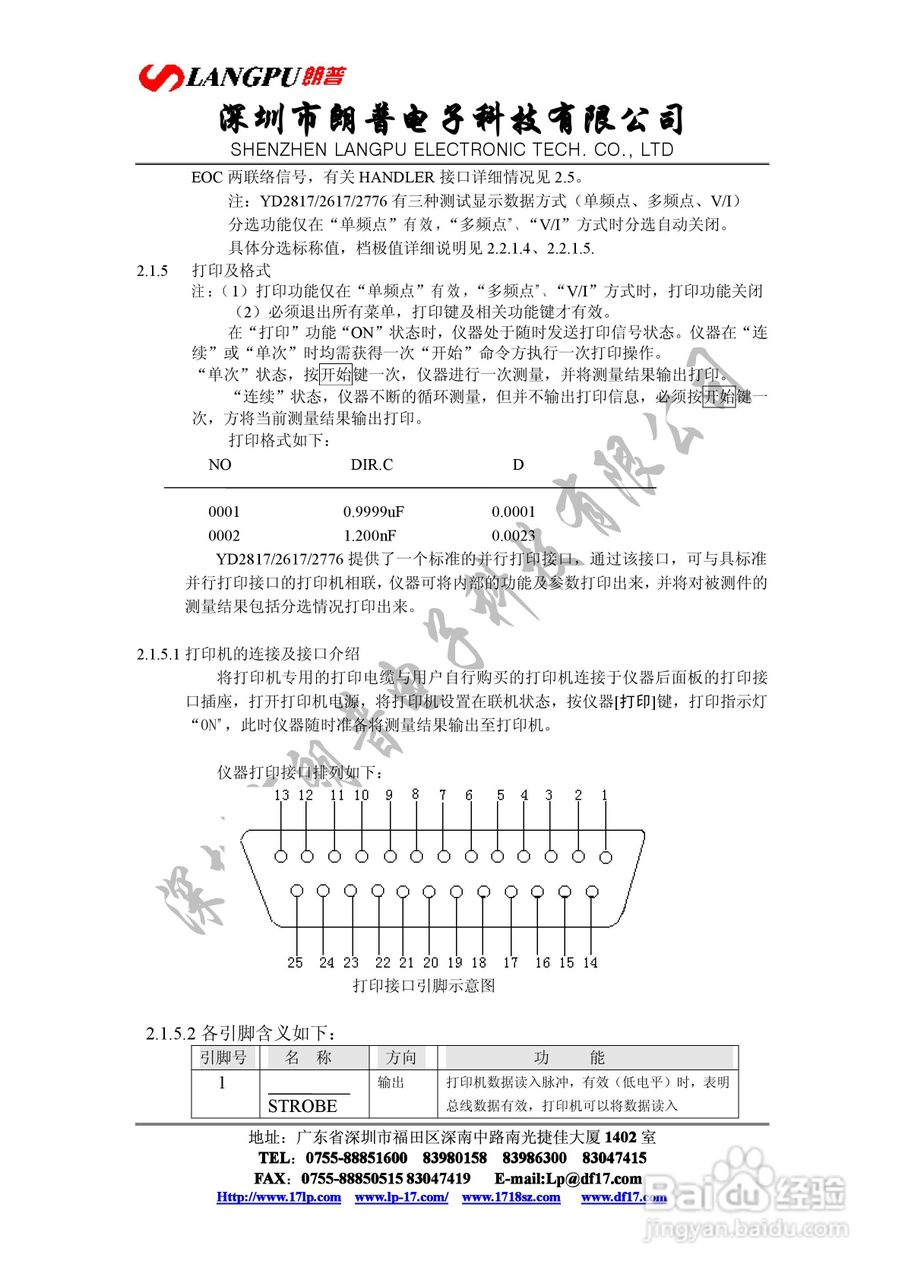
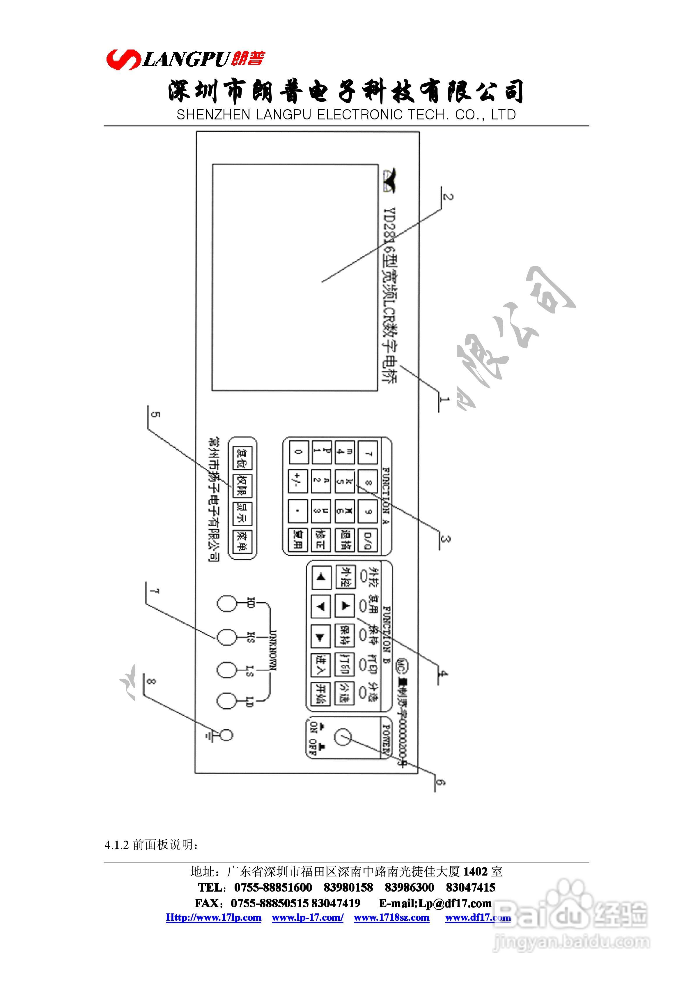
YD2817型LCR数字电桥说明书:[1]
2026-02-14 13:01:54
本篇为《YD2817型LCR数字电桥说明书》,主要介绍该产品的使用方法以及常见故障解决方案。
(共篇)
下一篇:
相关推荐
华为手机如何阻止广告弹出
阅读量:170
华为手机弹出广告怎么彻底删除
阅读量:71
华为手机乱跳广告怎么解决
阅读量:56
怎么取消华为自动跳出的广告
阅读量:194
华为手机如何屏蔽广告
阅读量:74
猜你喜欢
法律的作用是什么
察言观色的意思
赖氨酸有长高的作用
胶原蛋白什么时候喝
码农是什么意思
什么是棚户区
强词夺理的意思
什么是置业顾问
supper是什么意思
芝麻油的功效与作用
猜你喜欢
出国旅游需要什么手续
carry是什么意思
轰轰烈烈的意思
ed是什么意思
煮牛肉放什么容易烂
什么是胸贴
油然而生的意思
mv是什么意思
什么是虹吸排水
结婚红包上写什么