公司远程监控电脑用什么软件
1、远程监控软件可以实现远程异常挢傣捅地分公司电脑的监控,比如实时画面、屏幕截图、聊天审计、网址记录、搜索记录、U盘管控、违规操作报警等等

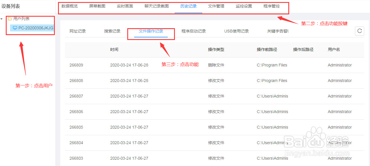
2、安装后登录管理端点击左边用户列表下面用户,然后点击右边相应的功能按键就可以实现相应的功能了。

3、只要电脑联网了,安装软件后,不管在哪里都可以监控。
1、远程监控软件可以实现远程异常挢傣捅地分公司电脑的监控,比如实时画面、屏幕截图、聊天审计、网址记录、搜索记录、U盘管控、违规操作报警等等
2、安装后登录管理端点击左边用户列表下面用户,然后点击右边相应的功能按键就可以实现相应的功能了。
3、只要电脑联网了,安装软件后,不管在哪里都可以监控。