如何知道微信公众号的具体运营情况?
1、先在百度上搜索优选云,先注册账号并且登录成功。

2、在首页媒体商店搜索栏中输入公众号或者ID,点公众号进入数据页面能够看到账号基本信息、粉丝数、阅读数、点赞数等;以及公众号有接过哪些品牌的推广。


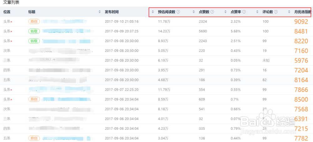
3、还可以看到公众号历史文章、发稿日期、文章内容;每一篇文章的阅读数、点赞数、评论数。月优选指数等。

4、深入了就该公众号是否有刷阅读量嫌疑,点击立即评估进入到账号评估的页面;可以查看公众号质量和活跃度,以及男女比例、年龄阶段等数据。如示例图的账号质量是100%,就表示这个账号质量比较好,阅读数真实度也比较高。如果质量度是70%,则表示30%数据是异常的。



5、通过上面的方法就可以知道您要投放的微信公众号真实运营数据,以及公众号是否有在刷阅读量哦。
阅读量:57
阅读量:114
阅读量:60
阅读量:67
阅读量:38